Loading parts of sections
                                                            
                    Copyright © 2025 Powered By Marcone Supply (Version: 1.0.0)
                            
                            
                        
                            
                        Dishwasher
                        Microwave Countertop
                        Range Vent Hood
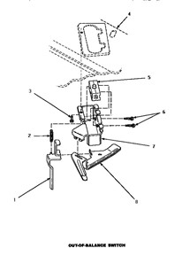
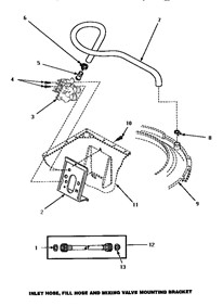
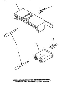
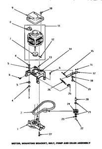
                        Gas Free Standing
                        Trash Compactor